http://dx.doi.org/10.22201/fq.18708404e.2022.3.81406

Tratamiento de datos de alimentos fluidos para la determinación experimental de viscosidad

Laura Patricia Martinez-Padilla[a]

Resumen

La viscosidad es una propiedad clave en múltiples actividades de la ingeniería de procesos que van desde el diseño y la selección de equipos hasta su uso como índice de calidad. En este artículo se muestran diversas curvas de flujo y el procedimiento del tratamiento de datos para calcular la viscosidad de materiales líquidos de comportamiento no newtoniano, así como la curva de ajuste a modelos empíricos. Se presentan datos de alimentos fluidos, materiales de composición y estructura compleja, obtenidos en el laboratorio, los cuales se analizan de acuerdo con la respuesta que tienen al aplicar un esfuerzo de cizalla o una velocidad de cizalla. En cada caso se indica el instrumento, tipo de dispositivo, las condiciones de ensayo utilizadas y la forma de obtener los parámetros reológicos que definen la curva de flujo, así como la viscosidad correspondiente, incluyendo el significado de los parámetros de ajuste. Los ejemplos mostrados en este artículo sirven de base a cualquier usuario que desee reproducir o interpretar los datos obtenidos en un reómetro usando geometrías convencionales.

Palabras clave:

Reología; viscosidad; alimentos; fluidos; no newtonianos.

Processing of fluid food data for the experimental determination of viscosity

Abstract

Viscosity is a key property in multiple process engineering tasks that range from the design and selection of process equipment through to the use of viscosity as a quality index. This paper presents flow curves and data treatment methods applicable to viscosity calculations for non-Newtonian liquid materials and empirical rheological models. Fluid foods, materials of complex structure and composition, were analyzed according to their response to shear stress or shear rate. This work summarizes the instrument, device and test conditions used during such analyses, and the calculation method used to derive the flow curve and viscosity for each test. These examples can assist reproducibility trials and data interpretation for tests conducted with rheometers using conventional geometries.

Keywords:

Rheology, viscosity, foods, fluids, non-Newtonian.




Introducción

La determinación de la viscosidad a partir de datos experimentales es una actividad a la que los estudiantes o profesionistas de una licenciatura en Ciencias Químicas o en Ingeniería tendrán que afrontar en algún momento para caracterizar materiales propios de su área, como alimentos fluidos, productos químicos o farmacéuticos. Contar con material didáctico en español en la revista Educación Química, facilitará el aprendizaje significativo a través del tratamiento de datos que se obtienen de manera práctica en un laboratorio, además de servir de referencia para la docencia a nivel licenciatura. El lector de este artículo debe tener conocimientos básicos de física y de preferencia, de reología (Barnes, 2000; Cruz, 1999; Steffe, 1996), ciencia que estudia la deformación y flujo de la materia, ya que se requiere identificar las variables principales involucradas en el comportamiento que presentará la materia cuando es sometida a un esfuerzo de cizalla o a una velocidad de deformación de cizalla, variables independiente y de respuesta utilizadas en los instrumentos, las cuales se definen más adelante. También se requiere el manejo de datos incluyendo la realización de gráficos en escala lineal o logarítmica, ajuste de curvas con programas comerciales (Curve Expert, SigmaPlot, Excel del Microsoft Office) y de ser posible manejo de los programas de control de los reómetros que incluyen ajuste de curvas a modelos empíricos.

El objetivo de este artículo es mostrar datos experimentales y el procedimiento de tratamiento de datos para calcular la viscosidad de materiales líquidos de comportamiento no newtoniano para ajustarlos a modelos de flujo empíricos que permitan describir cuantitativamente el comportamiento de dichos materiales empleando reómetros o viscosímetros de tipo rotatorio. Lo anterior, con la finalidad de contribuir en el aprendizaje de los estudiantes, proporcionando información practica que ayude a interpretar cómo se comporta un material en condiciones de flujo. En los ejemplos se usaron dispositivos de geometría convencional como cono-placa, cilindros concéntricos y placas paralelas, que permiten la caracterización sistemática de fluidos no newtonianos, y que generalmente el espesor de muestra cizallada es pequeño; el resultado es independiente del instrumento en que se realice. El intervalo de velocidad de cizalla seleccionado depende del motor del reómetro, las dimensiones del dispositivo de medida y de la viscosidad del material a evaluar. Para los líquidos de baja viscosidad, se utilizan dispositivos de diámetro grande, por lo tanto, área superficial grande. El número de lecturas que se recomienda en el intervalo seleccionado de velocidad de cizalla o de esfuerzo de cizalla es de 25 y 50 puntos, respectivamente. La distribución de los puntos de lectura puede ser de forma lineal o logarítmica, esta última, si se requiere un espaciado pequeño al inicio de la curva. Se recomienda que la toma de cada lectura sea entre 5 y 10 s, para obtener una respuesta estable, considerando que el sistema de control de todos los instrumentos de medida tiene un tiempo de respuesta a la condición aplicada. Se presentan al inicio ejemplos de fluidos newtonianos de diferentes viscosidades con la finalidad de mostrar la independencia de la viscosidad con la velocidad de cizalla. En todos los ejemplos se indica la línea de ajuste del modelo seleccionado y en algunos casos, comparaciones.

Conceptos básicos

Desde el punto de vista reológico, los términos sólido y líquido como formas de comportamiento, se relacionan mediante las variables: esfuerzo, σ (stress), deformación, γ (strain) y tiempo, t (time). Al aplicar un esfuerzo, el material se deforma, si se comporta como un sólido, o fluye si se comporta como líquido. Como la deformación es grande y rápida en los líquidos, se recurre a la derivada de la deformación con respecto al tiempo (), denominada velocidad de deformación o γ̇ (strain rate) (Barnes, 2000; Steffe, 1996). Se indica entre paréntesis el término en inglés como ayuda para la lectura de los textos de reología en ese idioma.

Un material puede comportarse mecánicamente como un sólido o como un líquido independientemente de su aspecto físico o su estado de organización molecular, lo cual depende de la escala de tiempo en la que ocurre la deformación. Algunos presentan propiedades de ambos, denominados materiales viscoelásticos y no se revisan en este documento. En las condiciones específicas de flujo laminar que se propicia en los reómetros o viscosímetros rotacionales, se evalúa el comportamiento como líquido, considerando que el tiempo característico del material es pequeño y el tiempo de observación también, por lo que el número adimensional de Deborah utilizado en reología, es pequeño, lo que indica que un material se comporta predominantemente como fluido (Zhong, 2019). Sin embargo, no todos los materiales líquidos presentan comportamiento newtoniano donde la viscosidad es independiente de la velocidad de deformación de cizalla (shear strain rate), denominada comúnmente velocidad de cizalla (shear rate), a partir de aquí se denomina así. En los instrumentos, la viscosidad no se determina directamente, se obtiene a través de la relación esfuerzo de cizalla (σyx)/velocidad de cizalla (γ̇yx) (Ec. 1), que proviene de la Ley de Newton (Ec. 2) (Cruz, 1999).

η = σyx/γ̇yx                                   (1)

σyx = η γ̇yx                                   (2)

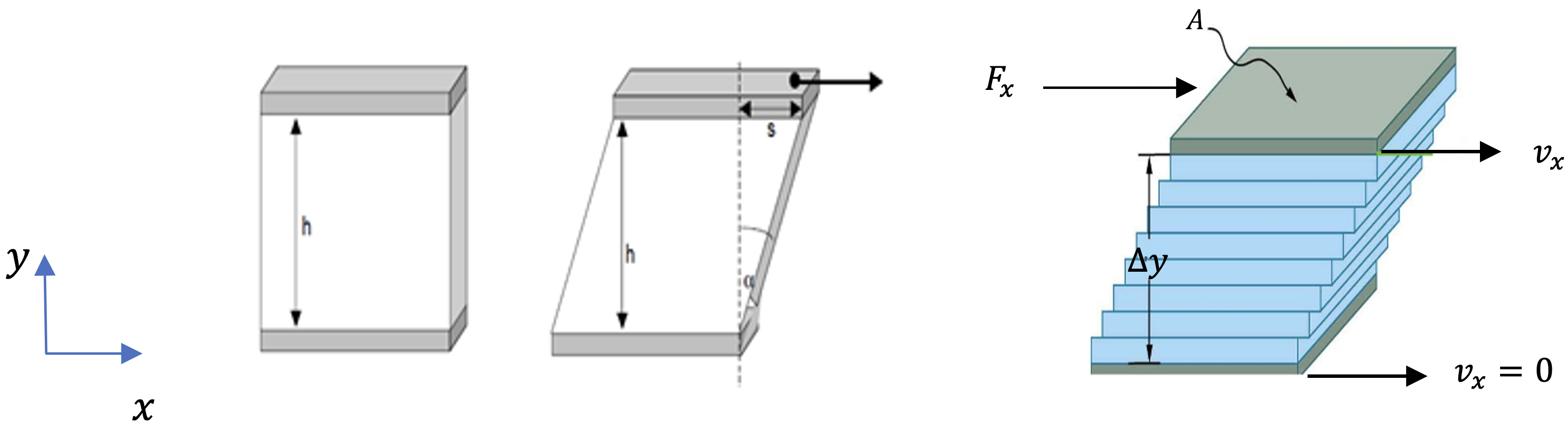
Para ello es necesario definir primeramente el esfuerzo, que es un tensor de segundo orden, se expresa en términos de 9 componentes escalares y las coordenadas x, y, z. Desde el punto de vista de la Mecánica de Medios Continuos, el esfuerzo es la derivada de la fuerza con respecto al área en el límite cuando esta última tiende a cero. El esfuerzo de cizalla es aquél donde la fuerza se aplica en dirección x y su repercusión es en el eje y, σyx = Fx/A, ya sea en la deformación (γ) cuando se comporta como sólido o en el flujo, cuando se comporta como líquido (Figura 1). La γ̇yx o velocidad de deformación bajo cizalla, (shear strain rate), es aquella donde hay flujo en dirección x y la repercusión es en la dirección y, por esta razón ambas variables contienen los subíndices yx.

La velocidad de cizalla se ha descrito también por el gradiente de velocidad (Δvx) que se da entre las placas de fluido que se encuentra entre el recipiente o placa que contiene la muestra y el dispositivo que rota, dividido entre el espesor definido de la muestra (Δy), por lo tanto γ̇yx = Δvxy (Figura 1). Como consecuencia de la transferencia de cantidad de movimiento a través de las capas de fluido se determina la resistencia al flujo del material o la η, midiendo en el σyx requerido para ello. Este puede considerarse el principio de operación de los viscosímetros o reómetros con dispositivos rotatorios cuyas pruebas o ensayos se realizan exclusivamente bajo cizalla.

Figura 1. Ejemplo de la deformación (s/h) y de velocidad de deformación bajo cizalla cuando de aplica un esfuerzo de cizalla (Fx/A).

Por simplicidad, en los modelos reológicos reportados en la literatura científica no se incluyen los subíndices yx (Barnes, 2000; Steffe, 1996; Zhong, 2019), pero habrá que diferenciarlos de los esfuerzo normales de compresión o tensión (σyy)que se pueden aplicar en las Maquinas Universales de Deformación y en Texturómetros. Es importante que no se confunda la velocidad angular (Ω) con la que rota el dispositivo de medición con γ̇yx, ya que en dispositivos convencionales existe una constante de proporcionalidad entre ambas (γ̇yx = kγ̇ Ω) que depende de las dimensiones del cilindro, cono o placa utilizados, así como del espesor de la muestra cizallada. Para determinar la η en los instrumentos se varía generalmente γ̇yx y se mide el σyx correspondiente, aunque se pueden manejar de manera inversa, es decir, se aplica σyx y se mide la γ̇yx; estas son las variables involucradas para construir una curva de flujo, y por lo tanto determinan el comportamiento reológico del material en condiciones de flujo laminar.

Tratamiento de datos

La viscosidad de los fluidos es una propiedad termo-dependiente por ello los ensayos se realizan a temperatura constante, la que se debe indicar en el reporte de resultados. En general, la viscosidad o la magnitud de algunos parámetros reológicos disminuyen al incrementar la temperatura. En la Figura 2, se muestran los resultados del agua purificada a 20 °C, aceite de aguacate y de girasol, leche, jugo de manzana, solución de inulina a 25 °C obtenidos en un reómetro de cono-placa y de la miel a 25 °C en cilindros concéntricos.

Figura 2. Curvas de flujo y curvas de viscosidad en función de la velocidad de cizalla de diversos líquidos newtonianos, datos obtenidos con un dispositivo de cono-placa (CP75-1°), Reómetro MCR301y un dispositivo de cilindros concéntricos (CC39), Rheolab QC, Anton Paar, Austria.

Los fluidos presentan comportamiento newtoniano ya que existe una función proporcional entre σyx y γ̇yx, cuya pendiente de la línea recta que se sobrepone a los datos experimentales corresponde a la η. La η se puede representar en función de γ̇yx y dependiendo de la η del fluido, el gráfico se realiza en escala lineal o logarítmica, de acuerdo con la comparación que se quiera realizar (Figura 1). Las viscosidades de líquidos ligeros, como el jugo de manzana o la leche entera se visualizan mejor en escala lineal, mientras que los líquidos viscosos como la miel o aceites vegetales en escala log-log. En este tipo de gráfico se aprecia la independencia de η con γ̇yx. La η se puede calcular también como el promedio de los valores puntuales en el intervalo de γ̇yx.

Los materiales líquidos puros como el agua, alcohol, ácido acético y en general solventes orgánicos presentan comportamiento newtoniano. Soluciones concentradas de azúcares o sales también son newtonianas, pero con magnitudes de viscosidad mayores a medida que se incrementa la concentración del soluto. La viscosidad de las disoluciones macromoleculares aumenta con la masa molecular del soluto y con la concentración (Salgado-Chavarría y Palacios-Alquisira, 2020). Disoluciones de polisacáridos (<0.1%) y suspensiones de proteínas en concentraciones bajas (<10%) también muestran comportamiento newtoniano. Los límites de concentración del comportamiento newtoniano pueden incrementarse a medida que el peso molecular de los polisacáridos disminuye (Lapasin & Pricl, 1999). Emulsiones diluidas estables presentan comportamiento newtoniano ya que las gotas de aceite de tamaño nano o micrométrico y homogéneas, no interactúan entre ellas (Zhu et al., 2020). Los aceites de origen vegetal o mineral son otro ejemplo de materiales newtonianos de η relativamente alta cuando se compara con la del agua pura a 20 °C (~0.001 Pa s). Los jugos y concentrados de fruta clarificados, jarabes y mieles sin espesantes y sin cristales suspendidos, leche fresca, reconstituida o concentrada hasta un 20%, también se ajustan al comportamiento newtoniano. Por lo general, un material líquido constituido de y/o de compuestos de bajo peso molecular y/o baja concentración de partículas que no sobrepasen el tamaño coloidal, o concentración pequeña de sólidos solubles, presentará comportamiento newtoniano. Los líquidos newtonianos sirven para verificar calibración de viscosímetros y reómetros, se utilizan: polialfaolefina, polibuteno, aceite mineral o silicona como materiales de referencia certificados por el CENAM (México) o el NIST (EE. UU.).

A los materiales que fluyen y que no presentan una η constante cuando se ponen en movimiento o son cizallados, se les denomina fluidos no newtonianos. Se pueden ubicar tres grupos de fluidos no newtonianos, entre los que se incluye a los materiales cuya curva de flujo se ajusta a una función potencial, los que presentan un esfuerzo de cedencia (σ0, yield stress) o esfuerzo mínimo para empezar a fluir (Barnes, 2000) y los materiales que presentan zonas de η constante y comportamiento fluidificante (disminución de η al incrementar γ̇yx) en velocidades de cizalla intermedias. Todos ellos, al incrementar y descender la γ̇yx, la curva de flujo coincide, evidenciando independencia con el tiempo de cizalla. También se puede hacer un gráfico de la η puntual en función de γ̇yx, para confirmar comportamiento no newtoniano.

El ejemplo más frecuente en la naturaleza de fluidos no newtonianos son los materiales fluidificantes que se ajustan al modelo de Ostwald-de Waele (Ec. 3); muestran una función tipo potencial cuando se grafica σyx en función de γ̇yx, se les refiere como “fluidos de ley de potencia”. El exponente (n) se le denomina índice de comportamiento al flujo (adimensional) e indica la dependencia de la viscosidad con respecto a γ̇yx. La constante de proporcionalidad k representa la consistencia o viscosidad global del material, denominada índice de consistencia, cuyas unidades son Pa sn. En este caso la viscosidad es función de la velocidad de cizalla se describe por la Ec. 4.

σyx = k (γ̇yx)n                                   (3)

η = k (γ̇yx)n-1                                   (4)

En estos fluidos, el carácter fluidificante lo revela el valor del exponente n, que es inferior a la unidad. Por lo general, n varía entre 0.3 y 0.9 en estos materiales y toma valores superiores a la unidad en materiales espesantes a la cizalla. Estos fluidos se denominaban antiguamente pseudoplásticos y dilatantes, respectivamente. La dilatancia es un fenómeno menos observado en alimentos fluidos, a excepción de algunas suspensiones de almidón concentradas y con ciertas relaciones de espacio anular en dispositivos de cilindros concéntricos (Fall et al., 2012). Si al aplicar la función potencia a los datos experimentales, el valor del exponente de la función es igual a la unidad (n =1), indica que el material es newtoniano, y en este caso la constante de proporcionalidad (k) corresponde a η.

El comportamiento de un alimento fluidificante a la cizalla se debe a una estructura debilitada por la reorganización de los elementos estructurales durante el cizallamiento, por la reorientación, extensión, deformación o disgregación de las macromoléculas o partículas (Zhong, 2019); este fenómeno se ha explicado como alineación de macromoléculas o partículas en dirección al flujo, también como resultado del rompimiento de enlaces débiles en puentes de hidrógeno, que, al disminuir el flujo o γ̇yx, las macromoléculas o partículas se vuelven a enlazar y/o a organizar. Este comportamiento se encuentra en alimentos fluidos en los que se ha evaporado el agua presente hasta concentraciones intermedias (<30% de sólidos totales) como jugos de frutas o leche, emulsiones nano o micrométricas homogéneas de máximo 30% de fase dispersa (Zhu et al., 2020) y disoluciones de polisacáridos de masa molar intermedia y en concentraciones pequeñas, como la goma guar o la carboximetilcelulosa en disolución acuosa (0.1-0.5%) (Lapasin & Pricl, 1999). En la Figura 3 se muestra el comportamiento de concentrado de tamarindo. La curva de flujo de estos materiales se ajusta al comportamiento Ostwald-de Waele (función potencial) cuando el material está fluyendo completamente, por lo general en γ̇yx > 10 s-1.

Figura 3. Curva de flujo y curva de viscosidad en función de la velocidad de cizalla de concentrado de tamarindo, 25 °C, línea continua ajuste a función potencial, datos obtenidos con un dispositivo de cilindros concéntricos (CC39), Rheolab QC, Anton Paar, Austria.

El comportamiento fluidificante se visualiza mejor en un gráfico de η con ejes en escala log-log, donde se observa una tendencia lineal entre ambas variables, donde el exponente de la función potencial es igual a n-1(Ec. 4). En este ensayo se tomaron 25 puntos con distribución lineal, lectura después de 10 s. Para definir que un fluido de Ostwald-de Waele, es importante que la curva de ajuste pase por todos los puntos experimentales, además de R²>0.9. La función potencial en ambas figuras proporciona un índice de consistencia de 7.5 Pa sn, y un índice de comportamiento al flujo de 0.30, lo que indica viscosidad alta del concentrado de tamarindo, la cual disminuye fuertemente al incrementar la velocidad de cizalla. Se observa que la R² de la viscosidad en función de γ̇yx es ligeramente mayor que en la curva de flujo.

Existen otros materiales también fluidificantes que requieren de un esfuerzo de cizalla mínimo para fluir, denominado esfuerzo de cedencia y se simboliza por σ0. Antiguamente a este tipo de fluidos se les conocía como materiales plásticos, ya que se comportan como sólidos antes de sobrepasar σ0 (Barnes, 2000; Steffe, 1996). En algunos casos, σ0 es usado como único parámetro de control. Hay dos propuestas para determinar σ0, método estático cuando se incrementa progresivamente el σyx, y método dinámico cuando se incrementa la γ̇yx. En el método estático se traza el gráfico de la γ̇yx desarrollada en función del σyx aplicado. En la Figura 4 se presenta la determinación del esfuerzo de cedencia del yogur para beber a 5 °C por el método estático, en este caso, se aplicó un σyx de 0.1 a 5 Pa, 50 puntos, distribución logarítmica, tomando una lectura cada 10 s e indicando la γ̇yx desarrollada. Se muestran los resultados intercambiando los ejes de la curva de flujo.

Figura 4. Velocidad de cizalla obtenida al incrementar el esfuerzo de cizalla de 0.1 a 5 Pa, distribución logarítmica, lectura cada 10 s, en yogur para beber, 5 °C, datos obtenidos con un dispositivo de cilindros concéntricos (CC39), Rheolab QC, Anton Paar, Austria.

En ambos casos se puede observar un σ0 cercano a 2 Pa, cuando γ̇yx es mayor de cero (flujo evidente a 0.1 o 1 s-1) o por extrapolación al eje del esfuerzo de cizalla (σyx). Los reómetros modernos también registran la deformación de cizalla (γyx) en función del esfuerzo de cizalla aplicado (σyx). Esta deformación de cizalla (γyx) no es lo mismo que la velocidad de cizalla (γ̇yx), que se ha estado utilizando hasta ahora. Además, no todos los viscosímetros la proporcionan; γyx es adimensional, se expresa en unidades o en %, si se requiere visualizar mejor el grado de deformación obtenido en el material. En la Figura 5 se presentan los gráficos de la deformación registrada en el yogur para beber (mismo ensayo en donde se determinó γ̇yx), al incrementar el esfuerzo de cizalla de 0.1 a 5 Pa. En la curva obtenida en la zona de σyx pequeños, γyx incrementa proporcionalmente (lineal) comportándose como sólido y en los σyx mayores, se incrementa exponencialmente, comportándose como fluido. En ambos gráficos se indica, con una línea sobrepuesta, donde γyx es proporcional al σyx aplicado, que corresponde a la zona denominada de elasticidad lineal, en este caso la linealidad se observa hasta el 10% de deformación, aproximadamente.

En este ensayo se confirma que el material se está comportando como sólido de Hooke definido por la Ec. 5, antes de comenzar a fluir, la pendiente de σyx en función de γyx corresponde al módulo de cizalla (G), Ec. 6, e indica la rigidez del material (Steffe, 1996).

σyx = G γyx                                   (5)

G = σyxyx                                   (6)

Se ha propuesto que el esfuerzo de cizalla donde interceptan los dos comportamientos corresponde a σ0 (Steffe, 1996), como se muestra en la Figura 5, por lo que se trazó otra línea en los primeros puntos de la curva de la deformación exponencial. En este caso σ0 es cercano a 1.2 Pa.

Figura 5. Deformación obtenida al incrementar el esfuerzo de cizalla de 0.1 a 5 Pa, distribución logarítmica, lectura cada 10 s, en yogur para beber, 5 °C, datos obtenidos con un dispositivo de cilindros concéntricos (CC39), Rheolab QC, Anton Paar, Austria.

Los valores obtenidos por ambos métodos, sea midiendo la velocidad de cizalla (γ̇yx) o midiendo la deformación de cizalla (γyx) difieren en 0.8 Pa, confirmándose la dificultad de definir un valor único.

En el método dinámico, se traza un gráfico convencional de σyx en función de γ̇yx aplicada y por extrapolación de la curva al eje de las abscisas, se obtiene σ0. Por lo general, se realiza el ajuste de la curva de flujo después de sobrepasar σ0. El modelo reológico más empleado para este tipo de materiales es el de Herschel-Bulkley (Ec. 7), y está representado también por una función potencial, más el esfuerzo de cedencia (σ0).

σyx = σ0 + k (γ̇yx)n                                   (7)

Figura 6. Curva de flujo en función de la velocidad de cizalla de natilla sabor vainilla, 5 °C, línea continua ajuste a función potencial, línea punteada, ajuste a modelo Herschel-Bulkley0 =50 Pa, k=6.6 Pa sn, n=0.54], datos obtenidos en un dispositivo cilindros concéntricos (CC27), Rheolab QC, Anton Paar, Austria.

El comportamiento Herschel-Bulkley se ejemplifica en una natilla sabor vainilla (línea punteada, Figura 6). La función potencial no ajusta en la última parte de la curva en escala lineal, y al inicio de la curva en la escala logarítmica (línea continua, Figura 5). Para obtener los parámetros reológicos, se registró el valor de σ0 extrapolado cuando la γ̇yx es cero, se restó este valor (como una constante A$) al σyx medido (a toda la columna). Posteriormente se trazó un gráfico del resultado de la resta en función de la γ̇yx (toda la columna), y se ajustó con la función potencial del programa Excel. A partir del valor extrapolado se comienza la iteración, incrementado o disminuyendo el valor supuesto, hasta que R2>0.9 y la curva de predicción pase por la mayoría de los puntos experimentales.

Ejemplos de materiales con σ0 pueden ser, suspensiones concentradas como el puré de tomate, concentrados de fruta en donde hay partículas suspendidas, productos de consistencia suave conteniendo almidón como las natillas o purés, o productos cuya estructura de red tridimensional tipo gel ha sido parcialmente destruida como es el caso del yogur batido. Muchos de estos materiales pueden presentar tixotropía (dependencia de γ̇yx y del tiempo de cizallamiento). Los valores obtenidos de σ0 por ambos métodos no son comparables, ya que el material cede bajo diferentes condiciones, el primero bajo la acción de σyx, y el segundo bajo la acción de γ̇yx. A finales del siglo pasado, este parámetro fue cuestionado (Barnes, 2000), pero es útil en aplicaciones de materiales semisólidos como recubrimientos, pinturas, cosméticos y alimentos de tipo untable, si se evalúa de manera sistemática. Los parámetros reológicos tienen la misma interpretación que en el fluido de Ostwald-de Waele, excepto que, si n=1, el material se denomina fluido de Bingham (Ec. 8), que representa a un material con σ0 y comportamiento newtoniano (ηp), después de sobrepasarlo.

σyx = σ0 + ηp (γ̇yx)                                   (8)

En la industria de productos derivados de chocolate se ha utilizado ampliamente el modelo de Casson (Ec. 9) para describir su comportamiento reológico, siendo kc la constante relacionada con la consistencia del fluido. La forma de la curva de flujo de un fluido de Casson es similar a la del modelo de Herschel-Bulkley. Los parámetros de este modelo se obtienen en un gráfico de √σyx en función de √γ̇yx.

σyx = √σ0 + kc γ̇yx                                   (9)

Otros materiales fluidificantes presentan una η importante y constante denominada η0 cuando se aplican γ̇yx pequeñas y después de una γ̇yx crítica, η disminuye al incrementar la velocidad de cizalla. En algunos casos, también se puede observar otra zona de η constante a muy altas γ̇yx y se denomina η, en ocasiones se considera despreciable, ya que es muy pequeña con respecto a η0 o a la η del solvente. Los modelos de Cross (Ec. 10) y Carreau (Ec. 11) han sido los más utilizados en las últimas décadas. Del modelo de Carreau se han realizado modificaciones como en el modelo Carreau-Gaghleitner o el de Carreau-Yasuda, donde se incluye el exponente b (Mezger, 2014).

η = η + (η0 η) [1 + k1(γ̇yx)2/3]1                                   (10)

η = η + (η0 η) [1 + [k2(γ̇yx)]2]p                                   (11)

Se ha relacionado p con n del fluido de Ostwald-de Waele, k2 del modelo de Carreau se ha considerado como un tiempo característico del material (número de Deborah), calculado como el inverso de la γ̇yx crítica, en donde el material comienza a ser fluidificante. En la Figura 7 se muestra el comportamiento de un sistema acuoso de un polisacárido funcional, glucomanano de konjac al 0.5% (25 °C), se observa una curva característica de un material fluidificante en la representación del σyx en función de γ̇yx. Al aplicar, la función potencial no se ajusta a este comportamiento, a pesar de que R2 sea superior a 0.9. En la curva de η en función de la γ̇yx se observa claramente una η casi constante en el inicio de la curva (γ̇yx pequeñas), el modelo que mejor describe el comportamiento es el Carreau-Gaghleitner, η0 =4.69 Pa s, η=0.0074 Pa s, k2 =0.19 s, b =0.63, p =1.34 (línea punteada, Figura 7b).

Figura 7. Curva de flujo de un sistema acuoso de glucomanano de konjac, 0.5%, 25 °C, se indica la función potencial con línea punteada (a). Curva de viscosidad en función de la velocidad de cizalla, línea continua y línea punteada, ajuste al modelo de Carreau y Carreau-Gaghleitner, respectivamente (b), datos obtenidos en un dispositivo de cono-placa (CP75-1°), Reómetro MCR301 Anton Paar, Austria.

Finalmente se describen los materiales dependientes del tiempo de cizallamiento, entre los que se encuentran los fluidos tixotrópicos, materiales que son fluidificantes a la cizalla y dependientes del tiempo de cizalla, seguido de una recuperación gradual cuando se retira el cizallamiento (Mewis & Wagner, 2009). Este fenómeno se observa al aplicar una γ̇yx constante o un σyx constante y se mide la η en función del tiempo de aplicación hasta que se alcanzan condiciones de equilibrio (Barnes, 2000). Algunos usuarios reportan la η medida a una γ̇yx y tiempo definido, con fines de comparación o de control de calidad. Al eliminar el cizallamiento, el material tixotrópico tenderá a recuperar su estructura en el reposo, pero a una velocidad mucho más lenta que a la que fue cizallado. Si este experimento se repite en una muestra fresca a otra γ̇yx superior, el decremento en η también será mayor, como se observa en la Figura 8, por esta razón, los fluidos tixotrópicos son materiales fluidificantes a la cizalla y dependientes del tiempo de cizallamiento. La dependencia con el tiempo se puede ajustar a una función exponencial (Barnes, 2000) o a una función logarítmica, como se muestra en la misma figura.

Figura 8. Viscosidad de mayonesa en función del tiempo de cizallamiento a dos velocidades de cizalla constante, 20°C, datos obtenidos en un dispositivo de placas (PP50), placa superior estriada, espacio entre placas 1.9 mm, Reómetro MCR301 Anton Paar, Austria.

En una curva de flujo convencional se observa al incrementar la γ̇yx, una función potencial característica, pero al disminuir, el σyx será menor, por lo que no coinciden las curvas de ascenso-descenso de γ̇yx como en los materiales fluidificantes, por lo que se observa un bucle de histéresis característico (Figura 9). La dificultad de este experimento reside en que el área del bucle de histéresis depende de la intensidad de la γ̇yx que se aplica, si el incremento es drástico (t pequeños) o lento (t grandes), el bucle será diferente. Los fluidos o materiales tixotrópicos son comunes, algunos ejemplos de fluidos con este comportamiento son cualquier producto semisólido tipo gel suave, concentrados con partículas que son visibles, nano o micro emulsiones concentradas estables, con fase dispersa superior al 50% y en general líquidos de composición diversa que internamente está organizada y con interacciones fuertes entre componentes, principalmente macromoléculas o partículas. Sin embargo, el modelado de su flujo es limitado. Unos programas calculan el área del bucle de histéresis, la cual es proporcional al grado de tixotropía. Algunos investigadores prefieren aplicar varios ciclos de cizallamiento de manera a que la separación entre curvas va disminuyendo hasta que se sobreponen, en este caso corresponde a la curva de flujo en condiciones estacionarias (ya no hay dependencia con el tiempo de cizallamiento).

En la Figura 8 se presenta la curva de flujo del concentrado de guayaba caracterizado a 25 °C, sometido a diferentes etapas de cizallamiento, donde la γ̇yx se incrementa de 5 a 500 s-1, 25 puntos, (etapa 1), se mantiene a 500 s-1, 20 puntos (etapa 2), de 500 a 5 s-1 (etapa 3), 5 a 500 s-1 (etapa 4) y de 500 a 5 s-1 (etapa 5), en las últimas etapas se toman 25 puntos con un tiempo de lectura entre puntos de 10 s. La prueba dura 20 min. La curva donde no hay dependencia del tiempo de cizallamiento denominada aquí curva de equilibrio se obtuvo desde la etapa 3, donde coinciden las curvas de la etapa 4 y la etapa 5, esta se ajusta al modelo de Herschel-Bulkley o al de Ostwald-de Waele. Para diseño de intercambiadores de calor, se suele reportar los parámetros reológicos de la curva de ascenso y descenso de γ̇yx, para visualizar el cambio de los parámetros.

Figura 9. Bucle característico de la curva de flujo de un material tixotrópico, concentrado de guayaba, 25 °C, 1 a 5 corresponden a las etapas de cizallamiento aplicado descritas en el texto, datos obtenidos en un dispositivo de cilindros concéntricos (CC39), Rheolab QC, Anton Paar, Austria.

En el grupo de fluidos dependientes del tiempo de cizallamiento también se encuentran los fluidos antitixotrópicos, denominados antiguamente reopécticos. Al igual que los fluidos espesantes son menos frecuentes, en ellos se observa un aumento de la η al incrementarse tanto la γ̇yx como el tiempo de cizallamiento. Este fenómeno se ha atribuido al reacomodo de las partículas, descrito como dilatancia, que provoca mayor dificultad para fluir, como ejemplos con este comportamiento son la miel cristalizada, suspensiones concentradas coloidales y de mayor tamaño. A la fecha, no se cuenta con datos experimentales de este tipo de fluidos.

Conclusiones

Los datos experimentales y el ajuste a modelos reológicos empíricos presentados en este artículo son de utilidad a los estudiantes y profesionales que dispongan de viscosímetros o reómetros con dispositivos rotatorios y que requieran analizar el comportamiento al flujo de materiales, tomando como ejemplo, los resultados obtenidos en alimentos fluidos. La contrastación de resultados experimentales contra los gráficos mostrados aquí, así como los ejemplos de ajuste de datos contribuirá al aprendizaje explicito y autónomo del lector, que requiera de la medida de viscosidad o del comportamiento reológico para aplicaciones de control de calidad o de diseño de equipo.

Referencias

Barnes, H. A. (2000). A Handbook of Elementary Rheology. The University of Wales Institute of Non-Newtonian Fluid Mechanics.

Cruz, J. (1999). Reología: los atractivos de la deformidad. Educación Química, 10 (2), 70-73.

Fall, A., Bertrand, F., Ovarlez, G. y Bonn, D. (2012). Shear thickening of corn starch suspensions. Journal of Rheology, 56(3), 575–591. https://doi.org/10.1122/1.3696875

Lapasin, R. y Pricl, S. (1999). Rheology of Industrial Polysaccharides: Theory and Applications. Chapman & Hall.

Mewis, J. y Wagner, N. J. (2009). Thixotropy. Advances in Colloid and Interface Science, 147148, 214–227. https://doi.org/10.1016/j.cis.2008.09.005

Mezger, T. G. (2014). The Rheology Handbook (4th ed.). Vincentz Network.

Salgado-Chavarría, D. y Palacios-Alquisira, J. (2021, enero-marzo). Cien años de química macromolecular. Educación Química, 2(1). https://dx.doi.org/10.22201/fq.18708404e.2021.1.76662

Steffe, J. F. (1996). Rheological Methods in Food Process Engineering (2nd ed.). Freeman Press. www.egr.msu.edu/~steffe/

Zhong, Q. (2019). Food rheology. In M. Kutz (Ed.), Handbook of Farm, Dairy and Food Machinery Engineering (3rd ed., pp. 461–481). Elsevier Inc. https://doi.org/10.1016/B978-0-12-814803-7.00018-X

Zhu, Y., Gao, H., Liu, W., Zou, L. y McClements, D. J. (2020). A review of the rheological properties of dilute and concentrated food emulsions. Journal of Texture Studies, 51(1), 45–55. https://doi.org/10.1111/jtxs.12444



Recepción: 12/12/21. Aceptación:11/04/22



Cómo citar: Martinez-Padilla, L. P. (2022, julio-septiembre). Tratamiento de datos de alimentos fluidos para la determinación experimental de viscosidad. Educación Química, 33(3). http://dx.doi.org/10.22201/fq.18708404e.2022.3.81406


[a] Universidad Nacional Autónoma de México, México. * lpmp@unam.mx